首页 >Products>LED traffic light series>100MM LED TRAFFIC LIGHT
产品特点:
1、高透光率透明面罩,阻燃,防紫外。
2、光源采用高亮LED,恒压恒流供电,降低衰减。
3、整灯寿命超过10年,抗振动、抗风压>145km/h。
4、产品通过公安部交通安全产品质量监督中心检测,符合中华人民共和国GB14887-2011的要求。
5、产品通过CE、TUV、EN12368认证。
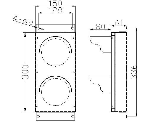
6、双重密封,外壳防护等级:IP55。
产品技术参数:
| 直径 | 型号 | 类别码 | 颜色 | LED数量 | 亮度或光强 | 波长 | 功率 | 工作电压 |
| 100mm | JD100-3-FM21 | TYPE01 | 红 | 45pcs | >110cd | 625±5nm | ≤5W | 12V/24VDC 110/220V AC |
| 绿 | 45pcs | >160cd | 505±5nm | ≤4W | ||||
| 工作环境温度 | -40℃~+80℃ | |||||||
| 外壳材质 | 铝壳、铁合金 | |||||||
交通信号灯尺寸:
