咨询电话:86-755-81469180

首页 >产品中心>太阳能交通产品系列>太阳能交通标志牌系列

产品中心

全国服务热线18129951084

  • 所属分类: LED交通信号灯系列
  • 所属品牌: 鑫光道交通灯
  • 产品标签: LED交通信号灯
  • 生产制造: 中国.深圳
  • 联系电话: 86-755-81469180
  • 联系QQ: 974268962
  • 太阳能为绿色能源,取之不尽,使用方便,既节约能源又不污染环境,太阳能交通警示灯可以称得上是一种理想的交通信号灯。

    适用于高速公路、桥头、高架桥等交通警示场所(特别适合电源难到达的地方)。
    产品型号:SLR-SG60-WB-1M 品牌:鑫光道
    技术参数:

    电气技术参数 光伏板、电池技术参数
    环境温度:-40℃~+80℃ 太阳能输出功率:10w
    标志牌外壳材料:冷轧板 太阳能峰值电流:0.62A
    反光材料:3M超强级反光膜 正常工作寿命:≥10年
    工作方式:恒流 锂电池容量:6.6AH/11V
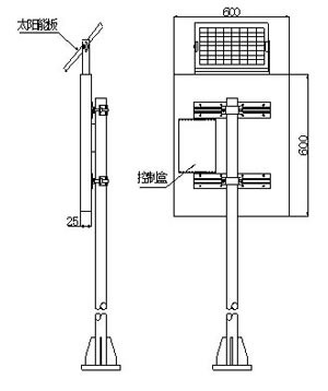
    标志牌尺寸(mm):600*600*25 正常工作寿命:≥2年以上
    护等级:IP54 工作电压:12V
    可视距离:≥500m 闪烁频率:50±5次/分
    光照度<150K时,闪光标志即可自动开始工作 连续阴雨工作日:≤4天


    太阳能标志牌尺寸图:
    交通信号灯接线示意图

    在线客服

    苏航

    周鑫

    郭敏

    陈路

    周澍

    刘艳宏

    skype cal

    赵小姐

    短信咨询