太阳成集团tyc7111cc,太阳集团tyc4633,太阳集团tyc9728
中文版
ENGLISH
咨询电话:
86-755-81469180
首页
关于我们
关于我们
公司理念
服务支持
研发与制造
品质保证
联系我们
资质证书
产品中心
雷视测速牌
智能路侧预警设备
隧道电光标志系列
新品推荐
智慧斑马线产品
路段式行人过街系统
LED交通信号灯系列
太阳能交通产品系列
新闻动态
公司动态
行业动态
展会活动
热点动态
解决方案
解决方案
工程案例
鑫光道智慧斑马线案例
西北工程案例
华东工程案例
华中工程案例
华南工程案例
华北工程案例
西南工程案例
国外工程案例
联系我们
首页
>
产品中心
>
LED交通信号灯系列
>
200MM LED交通灯系列
产品中心
雷视测速牌
智能路侧预警设备
隧道电光标志系列
智慧斑马线产品
新品推荐
+
非机动车安全行驶警示装置
+
雾天公路行车安全诱导装置
路段式行人过街系统
LED交通信号灯系列
+
100MM LED交通灯系列
+
200MM LED交通灯系列
+
300MM LED交通灯系列
+
400MM LED交通灯系列
+
500MM LED交通灯系列
+
LED交通信号灯倒计时系列
+
红叉绿箭车道信号灯系列
+
一体化交通信号灯系列
+
交通导向牌系列
+
其他信号灯
太阳能交通产品系列
+
太阳能同步警示灯
+
太阳能交通信号灯系列
+
太阳能移动式交通信号灯
+
太阳能交通标志牌系列
+
其他太阳能系列
APP交通安全提示桩
交通信号控制机系列
+
联网式信号控制机系列
+
协调式信号控制机系列
+
单点式信号控制机系列
+
太阳能无线控制机系列
行人语音提示器
交通灯杆系列
+
交通信号灯杆系列
+
电子警察监控杆系列
+
标志牌灯杆系列
+
路灯杆系列
+
园林灯杆系列
LED交通诱导屏
反光标志牌系列
+
警告标志
+
禁令标志
+
指示路标
智能行人过街申请按钮
全国服务热线
18129951084
200mm红黄绿直行右转箭头信号灯三单元
所属分类: LED交通信号灯系列
所属品牌: 鑫光道交通灯
产品标签: LED交通信号灯
生产制造: 中国.深圳
联系电话: 86-755-81469180
联系QQ: 974268962
详情介绍
产品特点
:
1、高透光率透明面罩,阻燃,防紫外。
2、光源采用高亮LED,恒压恒流供电,降低衰减。
3、整灯寿命超过10年,抗振动、抗风压>145km/h。
4、符合中华人民共和国GB14887-2011的要求。
5、产品通过CE、TUV、EN12368认证。
6、双重密封,外壳防护等级:IP55。
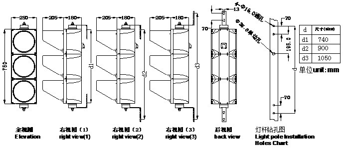
产品技术参数:
直径
型号
品牌
颜色
LED数量
亮度或光强
波长
功率
工作电压
200mm
SLR-FX20-WT-3X
鑫光道
红
46pcs
4800-6800mcd
630±5nm
≤6W
12V/24VDC
AC85-265V
50/60Hz
黄
46pcs
4500-6500mcd
590±5nm
≤6W
绿
46pcs
8500-10500mcd
505±5nm
≤6W
工作环境温度
-40℃~+80℃
外壳材质
塑壳
交通信号灯尺寸:
点击显示客服
在线客服
苏航
周鑫
郭敏
陈路
周澍
刘艳宏
skype cal
赵小姐
短信咨询